欢迎光临深圳市微效电子有限公司官网!
咨询热线:
13423842368
  1. 首页 > 产品中心 > MXIC(旺宏电子)>MX29GL128FHT2I-90G

MX29GL128FHT2I-90G

MX29GL128FHT2I-90G
产品型号:MX29GL128FHT2I-90G
制造商:MXIC(旺宏电子)
价格:具体面议
温控范围:-40°C~+85°C
用途:快闪记忆体
存储容量 :128Mbit
电压-电源:2.7V-3.6V
规格封装:56 Pin TSOP
说明书:点击下载
产品介绍

MXIC(旺宏电子)MX29GL128FHT2I-90G 3V Parallel NOR Flash芯片型号介绍:

产品特性

基础特性

供电工作范围

读取、擦除、烧录操作工作电压:2.7V~3.6V

MX29GL128F H/L 版本:输入 / 输出电压 = 电源电压 = 2.7V~3.6V,输入 / 输出电压需与电源电压严格匹配

MX29GL128F U/D 版本:输入 / 输出引脚电压范围 1.65V~3.6V

字节 / 字模式可切换

存储规格:16,777,216×8 位 / 8,388,608×16 位

统一扇区架构:单扇区 64 千字 / 128 千字节,共计 128 个均等独立扇区

读取缓存:16 字节 / 8 字页缓存

写入缓存:64 字节 / 32 字高速写入缓存

安全加密专属扇区:额外配置 128 字安全扇区

出厂锁定、状态可识别,支持用户自主锁定

高级扇区保护功能(硬件固化保护 + 密码保护)

锁存防护:-1V~1.5 倍电源电压区间内,可承受最高 100mA 锁存电流

低压写入禁止功能:当电源电压≤低压锁定阈值时,禁止写入操作

符合 JEDEC 行业标准

引脚定义与软件指令兼容单电源架构闪存芯片

深度休眠低功耗模式

性能参数

高性能读写

高速访问时序:

MX29GL128F H/L:70/90 纳秒(电源 2.7~3.6V)

MX29GL128F U/D:90/110 纳秒(电源 2.7~3.6V,IO 电压 1.65V~VCC)

页读取时序:

MX29GL128F H/L:25 纳秒

MX29GL128F U/D:30 纳秒

快速烧录:单字烧录时长 10 微秒

快速擦除:单扇区擦除时长 0.5 秒

低功耗设计

5MHz 工况下,典型读取工作电流:10 毫安

典型待机电流:20 微安

擦写耐久:最少 10 万次擦写循环

数据保存年限:常温下数据可稳定保存 20 年

软件功能

烧录 / 擦除暂停与恢复

可暂停当前扇区擦除,对其他未擦除扇区执行读取或烧录操作

可暂停当前扇区烧录,读取其他非烧录扇区数据

状态反馈机制

数据轮询、电平翻转位,可检测烧录与擦除操作完成状态

兼容通用闪存接口规范(CFI)

硬件特性

就绪 / 忙信号输出(RY/BY#)

硬件引脚实时反馈烧录、擦除工作完成状态

硬件复位输入(RESET#)

硬件强制复位内部状态机,快速切换至读取模式

写保护 / 加速控制引脚(WP#/ACC)

兼具硬件写入保护功能,同时可开启高速烧录加速模式

封装形式(PACKAGE):

T2: 56-TSOP

XF: LFBGA (11mm x 13mm x 1.4mm, 0.6 ball size, 1.0 ball-pitch)

XG: FBGA (7mm x 9mm x 1.2mm, 0.4 ball size, 0.8 ball-pitch)

MX29GL128FHT2I-90G产品信息订购图

MX29GL128FHT2I-90G引脚封装图

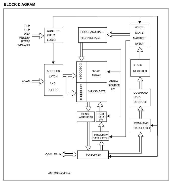
MX29GL128FHT2I-90G功能框图





ISO体系认证证书 ISO体系认证证书 ISO体系认证证书 ISO体系认证证书 ISO体系认证证书 ISO体系认证证书 ISO体系认证证书 ISO体系认证证书 ISO体系认证证书
    联系我们
  • 电话:13423842368 唐先生(微信同号)
  • 邮箱:392729410@qq.com
  • 座机:0755-27212232
  • 服务时间:
    • 8:30-18:30(工作日)
    • 9:00-18:00(节假日)
关注公众号

关注公众号

Copyright © 2026 深圳市微效电子有限公司 All Rights Reserved    专注于IC芯片代理、MCU芯片代理,主要产品:SPI NOR FLASH、NAND FLASH、SD NAND FLASH、 mcu单片机、温度传感器芯片等存储芯片,粤ICP备2025381541号-1网站地图sitemap.xml

扫描微信,掌握资讯