MXIC(旺宏电子)MX29GL256ELT2I-90Q 3V Parallel NOR Flash芯片型号介绍:
通用特性
工作电源
读、擦除与编程操作电压:2.7V~3.6V
MX29GL256E H/L:VI/O = VCC = 2.7V~3.6V,I/O 电压必须与 VCC 严格保持一致
MX29GL256E U/D:输入 / 输出端口电压 V/O = 1.65V~3.6V
支持字节 / 字模式切换
存储容量:33,554,432×8 位 / 16,777,216×16 位
统一扇区架构:64K 字 / 128KB
共计 256 个均等扇区
16 字节 / 8 字 页读缓冲
64 字节 / 32 字 写缓冲
额外 128 字安全扇区
支持出厂锁定与唯一识别,支持用户自定义锁定
高级扇区保护功能(硬件保护及密码保护)
抗闩锁保护:-1V~1.5×Vcc 范围内可承受 100mA 电流
低 VCC 写入禁止功能:VCC ≤ VLKO 时禁止写入
兼容 JEDEC 标准
引脚排布及软件协议与单电源 Flash 兼容
深度掉电模式
性能指标
高性能
快速访问时间
MX29GL256E H/L:100ns(VCC=2.7~3.6V),90ns(VCC=3.0~3.6V)
MX29GL256E U/D:110ns(VCC=2.7~3.6V,VIO=1.65V~VCC)
页访问时间
MX29GL256E H/L:25ns
MX29GL256E U/D:30ns
快速编程时间:10μs / 字
快速擦除时间:0.5s / 扇区
低功耗
读操作工作电流:典型值 10mA @ 5MHz
待机电流:典型值 20μA
典型擦写寿命:100,000 次
数据保存时间:20 年
软件特性
编程 / 擦除挂起 & 编程 / 擦除恢复
可暂停扇区擦除操作,对未擦除扇区执行读或编程操作
可暂停扇区编程操作,对未编程扇区执行读操作
状态反馈
通过 Data# 轮询与翻转位检测编程、擦除操作完成状态
支持通用 Flash 接口(CFI)
硬件特性
就绪 / 忙(RY/BY#)输出
通过硬件方式检测编程、擦除操作完成
硬件复位(RESET#)输入
通过硬件方式将内部状态机复位至读模式
WP#/ACC 输入引脚
硬件写保护引脚 / 提供加速编程功能
封装形式(PACKAGE):
T2:56-TSOP
M: 70SSOP
XF: LFBGA(11mm x 13mm)
XC: FBGA(10mm x 13mm)
所有器件均符合欧盟《关于限制在电子电气设备中使用某些有害成分的指令》(RoHS)要求,且不含卤素


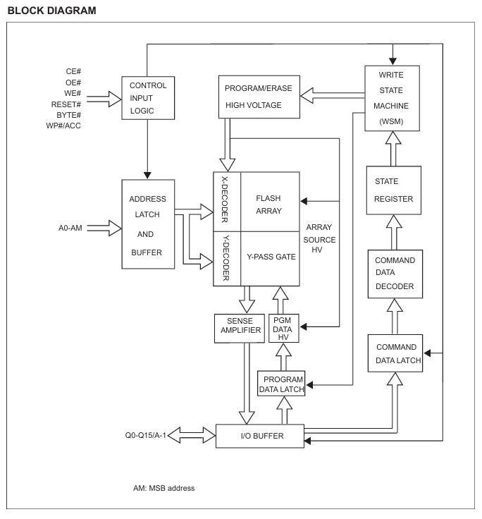
图中的每个功能块均对应实际芯片中用于对存储阵列进行访问、擦除、编程及读取操作的一个或多个电路模块。
控制输入逻辑(CONTROL INPUT LOGIC)模块接收片选 CE#、输出使能 OE#、写使能 WE#、复位 RESET#、字节模式 BYTE# 以及写保护 / 加速编程 WP#/ACC 等外部引脚信号,并根据这些输入生成内部时序控制信号,输出至地址锁存与缓冲器(ADDRESS LATCH AND BUFFER),用于锁存外部地址引脚 A0~AM(A23)。内部地址由此模块输出至主存储阵列及由 X 译码器、Y 译码器、Y 传输门和 Flash 阵列构成的译码电路。
X 译码器对 Flash 阵列的字线进行译码,Y 译码器对 Flash 阵列的位线进行译码。位线通过 Y 传输门选择性地与 ** 灵敏放大器(SENSE AMPLIFIER)及编程数据高压模块(PGM DATA HV)** 电气连接。灵敏放大器用于读出 Flash 存储器的存储内容,而编程数据高压模块则在编程期间向位线选择性地施加高压。
输入 / 输出缓冲器(I/O BUFFER)控制 Q0~Q15/A-1 端口的数据输入与输出。在读操作期间,I/O 缓冲器从灵敏放大器获取数据并驱动输出端口。在编程命令的最后一个周期,I/O 缓冲器将 Q0~Q15/A-1 上的数据传输至编程数据锁存器(PROGRAM DATA LATCH),该锁存器控制编程数据高压模块中的高压驱动电路,根据用户输入数据对字或字节中的对应位执行选择性编程。
编程 / 擦除高压(PROGRAM/ERASE HIGH VOLTAGE)模块包含产生所需高压并将其输送至 X 译码器、Flash 阵列及编程数据高压模块的相关电路。逻辑控制模块由写状态机(WSM)、状态寄存器、命令数据译码器及命令数据锁存器组成。当用户通过翻转 WE# 信号发出命令时,Q0~Q15/A-1 上的命令将被锁存至命令数据锁存器,并由命令数据译码器进行译码。状态寄存器接收命令并记录器件当前状态。写状态机根据当前命令状态,通过控制方框图中的各个模块,执行内部编程或擦除算法。
