3V 512M-BIT SERIAL FLASH MEMORY WITH DUAL/QUAD SPI & QPI & RPMC
XMC(武汉新芯) XM25RH512CXIQT10S SPI NOR Flash芯片介绍:
特征
全新系列 SpiFlash 闪存 — XM25RH512C
容量:512M‑bit / 64M‑byte
标准 SPI:CLK、/CS、DI、DO、/WP、/Hold
双路 SPI:CLK、/CS、IO0、IO1、/WP、/Hold
四路 SPI:CLK、/CS、IO0、IO1、IO2、IO3
QPI:CLK、/CS、IO0、IO1、IO2、IO3
高性能串行闪存
108MHz 单线、双路 / 四路 SPI 时钟
快速读取操作支持可配置空时钟周期数
擦写 / 编程次数:大于 100,000 次
数据保存时间:大于 20 年
支持突发读取,支持 8/16/32/64 字节环绕模式
高效 “连续读取” 与 QPI 模式
连续读取支持 8/16/32/64 字节环绕
四路外设接口(QPI)降低指令开销
支持真正的 XIP(片内执行)操作
高性能编程 / 擦除速度
页编程时间:典型值 0.6ms
扇区擦除时间:典型值 50ms
32KB 块擦除时间:典型值 120ms
64KB 块擦除时间:典型值 250ms
整片擦除时间:典型值 100 秒
宽电压范围、宽温度范围
工作电压范围:2.7V–3.6V
工作温度范围:-40°C 至 +85°C
灵活架构,支持 4KB 扇区
统一扇区 / 块擦除(4K/32K/64K 字节)
每页可编程 1~256 字节
支持擦除 / 编程挂起与恢复
高级安全特性
软件及硬件写保护
电源锁定与 OTP 保护
顶部 / 底部、互补阵列保护
每颗芯片具备 128 位唯一 ID
支持串行闪存可发现参数(SFDP)标识
3 组可锁定 OTP 256 字节安全页
易失性与非易失性状态寄存器位
重放保护单调计数器(RPMC)
封装型号:
K: SOP 300mil 16L
X:WSON 6x8 8L
B: TFBGA 6x8 24ball (6*4 ball array)
B2: TFBGA 6x8 24ball (5*5 ball array)
XM25RH512CXIQT10S SPI NOR Flash一般说明
XM25RH512C(512M 位)串行闪存专为空间、引脚及功耗受限的系统提供存储解决方案。25Q 系列具备远超普通串行闪存的灵活性与性能,非常适合将代码映射至 RAM、通过双 / 四路 SPI 直接执行代码(XIP),以及存储语音、文本和数据。器件采用单电源 2.7V~3.6V 供电,深度掉模式下电流可低至 1µA,全系均采用节省空间的封装。
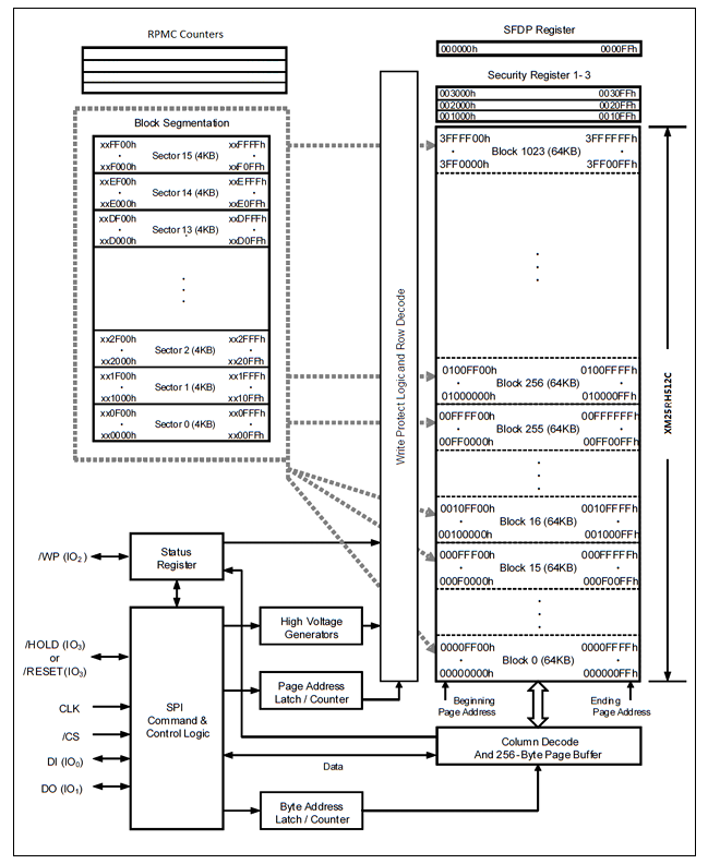
XM25RH512C 存储阵列划分为 262,144 个可编程页,每页 256 字节,单次最多可编程 256 字节。页面可按 16 页为一组(4KB 扇区擦除)、128 页为一组(32KB 块擦除)、256 页为一组(64KB 块擦除)或整片擦除。XM25RH512C 分别包含 16,384 个可擦除扇区与 2,048 个可擦除块。4KB 小扇区架构可为需要数据与参数存储的应用提供更高的灵活性。(见图 1)
XM25RH512C 支持标准串行外设接口(SPI)、双 / 四路 I/O SPI 以及双时钟指令周期的四路外设接口(QPI):串行时钟、片选、串行数据 I/O0(DI)、I/O1(DO)、I/O2(/WP)、I/O3(/HOLD)。器件支持最高 108MHz SPI 时钟,在使用快速读取双 / 四路 I/O 及 QPI 指令时,等效时钟速率可达双路 I/O 216MHz、四路 I/O 432MHz。该传输性能可超越标准的 8 位与 16 位异步并行闪存。
连续读取模式仅需最少 8 个时钟的指令开销即可读取 24 位地址,实现高效存储访问,支持真正的片内执行(XIP)功能。
保持引脚、写保护引脚及带顶部 / 底部阵列控制的可编程写保护功能,可提供更灵活的控制。此外,器件支持 JEDEC 标准厂商 ID 与器件 ID、SFDP 寄存器、128 位唯一序列号以及 3 个 256 字节安全寄存器。
XM25RH 系列还通过重放保护单调计数器(RPMC)具备增强认证安全特性,可在闪存与控制器之间建立高安全性通信,降低系统遭受硬件攻击的风险。


