3V 128M-BIT SERIAL FLASH MEMORY WITH DUAL/QUAD SPI & QPI
XMC(武汉新芯)XM25QH128CHIG SPI NOR FLASH芯片:
产品特性
全新一代串行闪存产品系列
XM25QH128C:容量 128 兆位 / 16 兆字节
标准 SPI:时钟、片选、数据输入、数据输出、写保护、暂停控制
双线 SPI:时钟、片选、双向 IO0、双向 IO1、写保护、暂停控制
四线 SPI:时钟、片选、双向 IO0、双向 IO1、双向 IO2、双向 IO3
四线外设接口 (QPI):时钟、片选、双向 IO0~IO3
高性能串行闪存
单通道、双线 / 四线 SPI 时钟频率最高可达 133 兆赫兹
可配置等待周期,实现高速读取操作
擦写 / 编程循环寿命超 10 万次
数据保存时长超 20 年
支持 8/16/32/64 字节循环突发读取
高效连续读取与 QPI 工作模式
支持 8/16/32/64 字节循环连续读取
四线外设接口(QPI)可降低指令传输开销
支持原位执行(XIP)运行模式
高速编程 / 擦除性能
页编程典型时长:0.5 毫秒
扇区擦除典型时长:40 毫秒
32KB 块擦除典型时长:120 毫秒
64KB 块擦除典型时长:250 毫秒
整片擦除典型时长:55 秒
宽电压、宽工作温度范围
全工作电压区间:2.3V~3.6V
读取工作最大电流:18 毫安
超深度掉电模式最大电流:5 微安
工作温度范围:-40℃ ~ +105℃
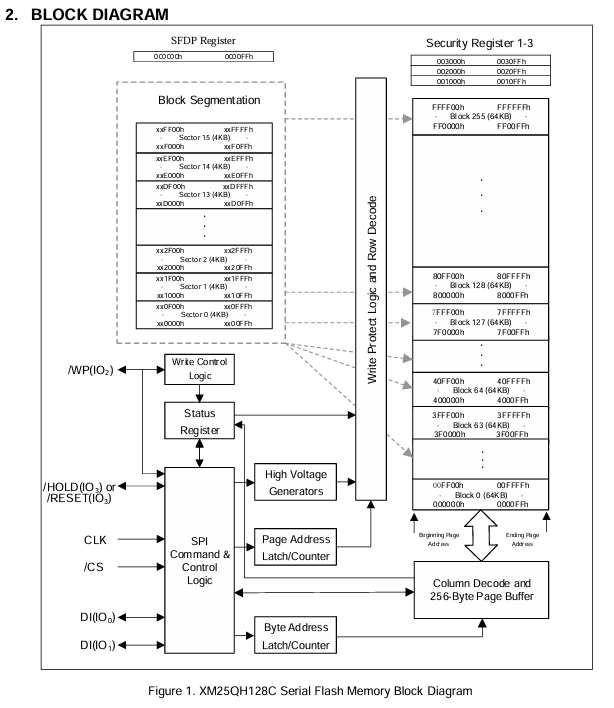
4KB 扇区灵活架构设计
统一规格扇区 / 块擦除(4K/32K/64K 字节)
单编程页面可写入 1~256 字节数据
支持擦除 / 编程暂停与恢复功能
完善的高级安全防护机制
支持软件、硬件双重写保护
具备电源锁定保护与一次性可编程(OTP)防护
支持存储阵列首尾区域、互补阵列保护
单颗芯片搭载 64 位唯一识别码
兼容串行闪存可识别参数(SFDP)标准协议
内置 3 组可锁定 256 字节一次性可编程安全存储页
配备易失性与非易失性状态寄存器位
封装:
H: SOP 208mil 8L: R: VSOP 208mil 8L
W: WSON 5x6 8L:
V3:WLCSP 21bal
XM25QH128CHIG SPI NOR FLASH产品概述:
XM25QH128C为128M位串行闪存,专为空间、引脚及功耗受限的系统提供存储解决方案。25Q 系列在灵活性与性能上远超普通串行闪存产品,适用于代码镜像加载至内存、双线 / 四线 SPI 就地代码执行(XIP),以及语音、文本与各类数据存储场景。器件单电源供电,工作电压 2.3V~3.6V,超深度掉电模式下功耗低至 1μA,全系均采用小型化节省空间封装。
XM25QH128C 存储阵列共分为 65536 个可编程页面,单页容量 256 字节,单次最多可编程写入 256 字节。页面可按分组擦除:16 页为一组(4KB 扇区擦除)、128 页为一组(32KB 块擦除)、256 页为一组(64KB 块擦除),也支持整片全擦除。该芯片包含 4096 个可擦除扇区、256 个可擦除大块。极小的 4KB 扇区设计,可大幅提升数据与参数存储类应用的使用灵活性。
芯片支持标准串行外设接口(SPI)、双路 / 四路输入输出 SPI,以及双时钟指令周期的四线外设接口(QPI);硬件引脚包含:串行时钟、片选、串行数据 I/O0(DI)、I/O1(DO)、I/O2(写保护)、I/O3(暂停)。标准 SPI 时钟最高 133MHz;搭配双线 / 四路高速读取及 QPI 指令时,双路 I/O 等效时钟可达 266MHz,四路 I/O 等效时钟高达 532MHz,传输性能优于传统 8 位、16 位异步并行闪存。
连续读取模式仅需 8 个时钟周期即可完成 24 位地址指令开销,存储器访问效率更高,可实现真正的就地代码运行(XIP)。
芯片配备暂停引脚、写保护引脚,结合可编程写保护与上下存储区锁定控制,进一步提升使用管控灵活性。同时兼容 JEDEC 标准厂商 ID 与设备 ID、SFDP 标准寄存器,内置 64 位唯一序列号及 3 组 256 字节安全寄存器。


