XM25QU512C 1.8V 512M-BIT SERIAL FLASH MEMORY WITH DUAL/QUAD SPI & QPI
XMC(武汉新芯)XM25QU512CXIQT08S NOR FLASH芯片型号产品参数介绍:
主要特性
全新系列 SpiFlash 存储器– XM25QU512C:512M‑bit / 64M‑byte– 标准 SPI:CLK、/CS、DI、DO、/WP、/Hold– 双路 SPI:CLK、/CS、IO0、IO1、/WP、/Hold– 四路 SPI:CLK、/CS、IO0、IO1、IO2、IO3– QPI:CLK、/CS、IO0、IO1、IO2、IO3
高性能串行闪存– 单路 / 双路 / 四路 SPI 时钟最高 133MHz– 快速读取操作可配置空时钟周期数– 擦写次数:大于 100,000 次– 数据保存时间:大于 20 年– 支持 8/16/32/64 字节环绕突发读取
高效连续读取与 QPI 模式– 连续读取支持 8/16/32/64 字节环绕– 四路外设接口(QPI)降低指令开销– 支持真正的 XIP(片内执行)操作
高性能擦写速度– 页编程时间:典型 0.6ms– 扇区擦除时间:典型 40ms– 32KB 块擦除时间:典型 120ms– 64KB 块擦除时间:典型 250ms– 整片擦除时间:典型 100 秒
宽电压与宽温度范围– 全电压范围:1.65V–1.95V– 工作温度:-40°C ~ +85°C
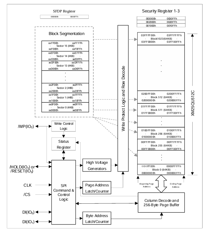
灵活架构,4KB 扇区– 统一扇区 / 块擦除(4K/32K/64K 字节)– 每页可编程 1~256 字节– 支持擦除 / 编程挂起与恢复
高级安全特性– 软件与硬件写保护– 电源锁定与 OTP 保护– 支持存储区顶部 / 底部 / 互补区保护– 每颗芯片具备 128 位唯一 ID– 支持串行闪存可发现参数(SFDP)标识– 3 组 OTP 可锁定 256 字节安全页– 支持易失性与非易失性状态寄存器位
封装型号:
K: SOP 300mil 16L
X: WSON 6x8 8L
XM25QU512CXIQT08S NOR FLASH芯片产品概述
XM25QU512C(512M‑bit)串行闪存为空间有限、引脚少、低功耗的系统提供存储解决方案。25Q 系列的灵活性与性能远超普通串行闪存,非常适合将代码映射到 RAM、通过双路 / 四路 SPI 直接执行代码(XIP)以及存储语音、文本和数据。
器件采用 2.3V~3.6V 单电源供电,深度掉电模式电流低至 1µA。全系列均采用节省空间的封装。
XM25QU512C 存储阵列由 262,144 个可编程页组成,每页 256 字节,单次最多可编程 256 字节。可按以下方式擦除:
16 页一组(4KB 扇区擦除)
128 页一组(32KB 块擦除)
256 页一组(64KB 块擦除)
整片芯片擦除
器件分别包含 16,384 个可擦除扇区 和 1,024 个可擦除块。小型 4KB 扇区为需要数据与参数存储的应用提供更高灵活性。
XM25QU512C 支持标准 SPI、双路 / 四路 I/O SPI 以及 2 时钟指令周期的四路外设接口(QPI):包括串行时钟、片选、串行数据 I/O0(DI)、I/O1(DO)、I/O2(/WP)、I/O3(/HOLD)。
器件支持最高 133MHz SPI 时钟;在快速读取双路 / 四路 I/O 与 QPI 指令下:
双路 I/O 等效频率可达 266MHz
四路 I/O 等效频率可达 532MHz
传输性能可超过标准 8 位、16 位异步并行闪存。连续读取模式仅用 8 个时钟即可完成 24 位地址读取,实现高效存储访问,支持真正的 XIP(片内执行)。
器件提供保持引脚、写保护引脚、带顶部 / 底部存储区控制的可编程写保护功能,控制更灵活。此外,器件还支持 JEDEC 标准厂商 ID 与器件 ID、SFDP 寄存器、128 位唯一序列号以及 3 个 256 字节安全寄存器。


