XM25QW512C WideRange 512M-BIT SERIAL FLASH MEMORY WITH DUAL/QUAD SPI & QPI
XMC(武汉芯新)XM25QW512CKIQT08S SPI Interface Flash芯片特点:
特性
SpiFlash记忆新家族
–XM25QW512C:512M位/64M字节
–标准SPI:CLK、/CS、DI、DO、/WP、/Hold
–双SPI:CLK、/CS、IO0、IO1、/WP、/Hold
–四路SPI:CLK、/CS、IO0、IO1、IO2、IO3
–QPI:CLK、/CS、IO0、IO1、IO2、IO3
最高性能串行闪存
–133MHz单、双/四SPI时钟
–可配置的虚拟循环数,用于快速读取
操作
–超过100000个擦除/编程周期
–超过20年的数据保留
–带8/16/32/64字节环绕的突发读取
高效的“连续读取”和QPI模式
–使用8/16/32/64 ByteWrap进行连续读取
–四外设接口(QPI)减少
指令开销
–允许真正的XIP(就地执行)操作
高性能编程/擦除速度
–页面编程时间:典型值为0.6ms
–扇区擦除时间:典型值为40ms
–32KB块擦除时间通常为120ms
–64KB块擦除时间通常为250ms
芯片擦除时间:通常为100秒
宽功率范围,宽温度范围
–全电压范围:1.65-3.6V
–-40°C至+85°C工作范围
4KB扇区的灵活架构
–均匀扇区/块擦除(4K/32K/64K字节)
–每个可编程页面编程1到256字节
–擦除/程序暂停和恢复
–高级安全功能
–软件和硬件写保护
–电源锁定和OTP保护
–顶部/底部,补充阵列保护
–每个设备的128位唯一ID
–支持串行闪存可发现参数
(SFDP)签名
–3套可锁定的256字节OTP安全页面
–易失性和非易失性状态寄存器位
封装规格:
K: SOP 300mi1 16L
X:WSON 6x8 8L
B: TFBGA 6x8 24ball (6*4 ball array)
B2: TFBGA 6x8 24ball (5*5 ball array)
XM25QW512CKIQT08S NOR FLASH一般说明
XM25QW512C(512M位)串行闪存为空间有限的系统提供了一种存储解决方案,引脚和电源。25Q系列提供了远远超出普通串行闪存设备的灵活性和性能。
它们非常适合用于将代码阴影转移到RAM、直接从双/四SPI(XIP)执行代码以及存储语音,文本和数据。该设备在单个1.65V至3.6V电源上运行,电流消耗低至1µA用于深度断电。所有设备都提供节省空间的包装。
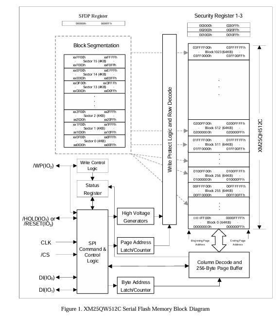
XM25QW512C阵列被组织成262144个可编程页面,每个页面256字节。最多256字节可以一次编程。页面可以按16组(4KB扇区擦除)、128组(32KB扇区擦除)进行擦除块擦除)、256组(64KB块擦除)或整个芯片(芯片擦除)。XM25QW512C有16384个可擦除扇区和1024个可擦除块。4KB的小扇区提供了更大的灵活性需要数据和参数存储的应用程序。(见图1。)
XM25QW512C支持标准串行外围接口(SPI)、双/四路I/O SPI以及2块指令周期四外设接口(QPI):串行时钟、芯片选择、串行数据I/O 0(DI)、I/O 1(DO)、I/O2(/WP)和I/O3(/HOLD)。支持高达133MHz的SPI时钟频率,允许等效时钟使用快速读取双/四输入/输出和QPI时,双输入/输出的速率为266MHz,四输入/输入的速率为532MHz说明。这些传输速率可以优于标准异步8位和16位并行闪存。
连续读取模式允许高效的内存访问,指令开销低至8个时钟读取24位地址,允许真正的XIP(就地执行)操作。
保持引脚、写保护引脚和可编程写保护,带顶部或底部阵列控制,提供进一步的控制灵活性。此外,该设备支持JEDEC标准制造商和设备IDSFDP寄存器、128位唯一序列号和三个256字节的安全寄存器。


