XM25QH128D 3V 128M-BIT SERIAL FLASH MEMORY WITH DUAL/QUAD SPI & QPI/DTR
XMC(武汉新芯)XM25QH128DWIQT SPI NOR Flash特点
SpiFlash记忆新家族
–XM25QH128D:128M位/16M字节
–标准SPI:CLK、/CS、SI、SO、/WP、/Hold
–双SPI:CLK、/CS、IO0、IO1、/WP、/Hold
–四路SPI:CLK、/CS、IO0、IO1、IO2、IO3
–QPI:CLK、/CS、IO0、IO1、IO2、IO3
–SPI/QPI DTR(双倍传输速率)读取
最高性能串行闪存
–166MHz单、双/四SPI快速读取
–108MHz正常读取
–108MHz DTR读取
–可配置的虚拟循环数,用于快速读取
行动
–超过100000个擦除/编程周期
–超过20年的数据保留
高效的“连续读取”和QPI模式
–使用8/16/32/64 ByteWrap进行连续读取
–四外设接口(QPI)减少
指令开销
–允许真正的XIP(就地执行)操作
高性能编程/擦除速度
–页面编程时间:典型值为0.25毫秒
–扇区擦除时间:典型值为25毫秒
–32KB块擦除时间通常为100毫秒
–64KB块擦除时间通常为150毫秒
芯片擦除时间:通常为20秒
单电源电压
–全电压范围:2.3-3.6V
低功耗
–10μA典型待机电流
– 0.2 典型的深度断电电流
–4 mA典型有源读取电流(80MHz四路I/O)
灵活的体系结构
–均匀扇区/块擦除(4K/32K/64K字节)
–每个可编程页面编程1至256字节
–擦除/程序暂停和恢复
高级安全功能
–软件和硬件写保护
–电源锁定和OTP保护
–顶部/底部,补充阵列保护
–每个设备的128位唯一ID
–支持串行闪存可发现参数
(SFDP)签名
–3x1024字节带OTP锁的安全寄存器
–易失性和非易失性状态寄存器位
空间高效包装
SOP 208mil 8L
WSON 5x6 8L
WSON 6x8 8L
FOSON 3*3 8L
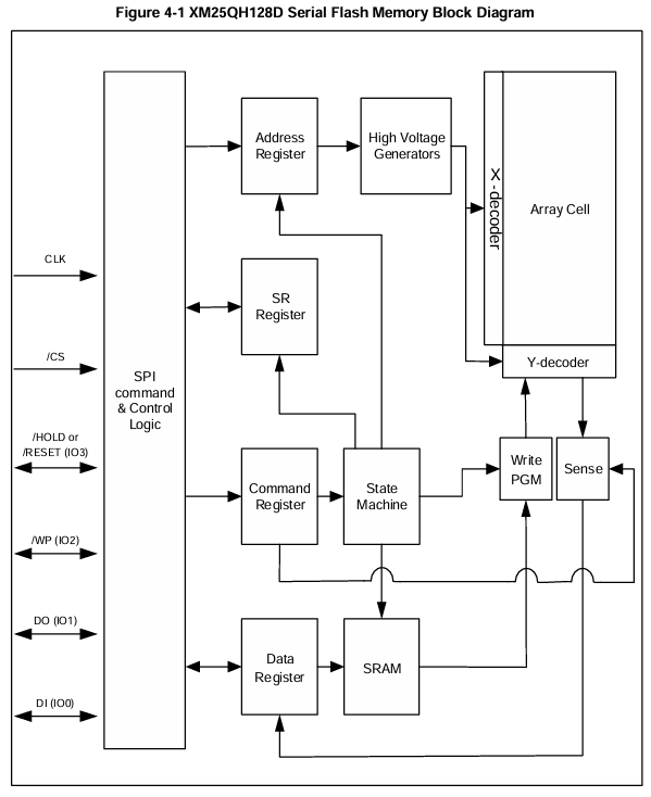
XM25QH128DHIQ一般说明
XM25QH128D(128M位)是一种串行接口闪存设备,设计用于单电源运行电源电压为2.3-3.6V,在深度断电时电流消耗低至0.2µA,程序代码为从闪存中隐藏到嵌入式或外部RAM中以供执行。灵活的擦除架构具有页面擦除粒度的设备也是数据存储的理想选择,消除了对额外数据的需求存储设备。
设备中配置了65536个可编程页面(每个页面256字节),最多可以配置256字节一次编程。16组(4KB扇区擦除)、128组(32KB块擦除)、256组(64KB块擦除)或整个芯片(芯片擦除)允许擦除页面。该设备有4096个可擦除扇区和256个可擦除块。4KB的小扇区为应用程序提供了更大的灵活性需要存储数据和参数。
该设备支持标准串行外围接口(SPI)、双/四I/O SPI以及2块指令循环四外设接口(QPI),包括串行时钟、芯片选择、串行数据I/O 0(SI)、I/O 1(SO)、I/O 2(/WP)和I/O3(/HOLD)。它还支持高达166MHz的SPI时钟频率,允许等效时钟运行快速读取双/四输入/输出和QPI时,双输入/输出的速率为332MHz,四输入/输入的速率为664MHz说明。该设备还增加了对DTR(双倍传输速率)指令的支持,这可能会超过传输速率标准异步8位和16位并行闪存的速率。只需8个字节即可读取24位地址-连续读取模式实现了高效的内存访问,允许真正的XIP(就地执行)操作。
此外,还有一个保持引脚、写保护引脚和顶部或底部的可编程写保护阵列控制,以提供进一步的控制灵活性。此外,该设备支持JEDEC标准制造商和设备ID以及SFDP寄存器、128位唯一序列号和三个1024字节的安全性登记簿。


