XM25QH256D 3V 256M-BIT SERIAL FLASH MEMORY WITH DUAL/QUAD SPI & QPI/DTR
XMC(武汉新芯)XM25QH256DKIQT SPI Nor Flash芯片特点:
SPI 闪存存储器新系列
– XM25QH256D:256 兆位 / 32 兆字节
– 标准 SPI:时钟(CLK)、片选(/CS)、串行输入(SI)、串行输出(SO)、写保护(/WP)、保持(/Hold)
– 双线 SPI:时钟(CLK)、片选(/CS)、输入输出 0(IO0)、输入输出 1(IO1)、写保护(/WP)、保持(/Hold)
– 四线 SPI:时钟(CLK)、片选(/CS)、输入输出 0(IO0)、输入输出 1(IO1)、输入输出 2(IO2)、输入输出 3(IO3)
– QPI:时钟(CLK)、片选(/CS)、输入输出 0(IO0)、输入输出 1(IO1)、输入输出 2(IO2)、输入输出 3(IO3)
– SPI/QPI 双倍传输速率(DTR)读取
高性能串行闪存
– 166MHz 单线、双线 / 四线 SPI 快速读取
– 108MHz 常规读取
– 108MHz DTR 读取
– 可配置快速读取操作的虚拟周期数
– 超过 100,000 次擦除 / 编程循环
– 超过 20 年数据保留期
高效的 “连续读取” 和 QPI 模式
– 支持 8/16/32/64 字节环绕的连续读取
– 四线外设接口(QPI)减少指令开销
– 支持真正的就地执行(XIP)操作
高性能编程 / 擦除速度
– 页面编程时间:典型值 0.25 毫秒
– 扇区擦除时间:典型值 25 毫秒
– 32KB 块擦除时间:典型值 80 毫秒
– 64KB 块擦除时间:典型值 120 毫秒
– 整片擦除时间:典型值 40 秒
单电源电压
– 全电压范围:2.3-3.6V
低功耗
– 典型待机电流 12μA
– 典型深度掉电电流 0.5μA
– 典型 active 读取电流 6mA(80MHz 四线输入输出)
灵活的架构
– 统一扇区 / 块擦除(4K/32K/64K 字节)
– 每个可编程页面可编程 1 至 256 字节
– 擦除 / 编程暂停与恢复
高级安全特性
– 软件和硬件写保护
– 电源锁定和一次性可编程(OTP)保护
– 顶部 / 底部、互补阵列保护
– 每颗器件配备 128 位唯一标识符
– 支持串行闪存可发现参数(SFDP)签名
– 3 个 2048 字节安全寄存器,带 OTP 锁定功能
– 易失性和非易失性状态寄存器位
封装规格:
K: SOP 300mil 16L;
X: WSON 6x8 8L;
W: WSON 5X6 8L:
B2: TFBGA 6x8 24ball (5*5 ball array)
XM25QH256DKIQT SPI Nor Flash芯片一般说明
XM25QH256D(256 兆位)是一款串行接口闪存器件,设计为采用 2.3-3.6V 单电源供电,深度掉电模式下电流消耗低至 0.2µA。在此模式中,程序代码会从闪存映射到嵌入式或外部 RAM 中执行。该器件具备灵活的擦除架构,其页擦除粒度同样适用于数据存储,无需额外的数据存储器件。
该器件包含 131,072 个可编程页面(每个 256 字节),一次最多可对 256 字节进行编程。可按 16 个页面为一组(4KB 扇区擦除)、128 个页面为一组(32KB 块擦除)、256 个页面为一组(64KB 块擦除)或对整个芯片(整片擦除)进行擦除操作。该器件分别有 8,192 个可擦除扇区和 512 个可擦除块。4KB 的小扇区为需要存储数据和参数的应用提供了更高的灵活性。
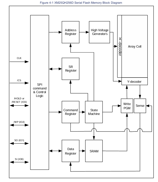
该器件支持标准串行外设接口(SPI)、双线 / 四线 I/O SPI 以及 2 时钟指令周期的四线外设接口(QPI),包括串行时钟、片选、串行数据 I/O0(SI)、I/O1(SO)、I/O2(/WP)和 I/O3(/HOLD)。它还支持高达 166MHz 的 SPI 时钟频率,在运行快速读取双线 / 四线 I/O 和 QPI 指令时,双线 I/O 对应的等效时钟速率可达 332MHz,四线 I/O 可达 664MHz。该器件还新增了对 DTR(双倍传输速率)指令的支持,其传输速率可超过标准异步 8 位和 16 位并行闪存。连续读取模式仅需 8 个时钟的指令开销即可读取 24 位地址,实现了高效的存储器访问,支持真正的 XIP(就地执行)操作。
此外,该器件配备了保持引脚、写保护引脚以及带有顶部或底部阵列控制的可编程写保护功能,以提供更高的控制灵活性。同时,该器件支持 JEDEC 标准的制造商和器件 ID、SFDP 寄存器、128 位唯一序列号以及三个 2048 字节的安全寄存器。

