XM25UH128D 3V 128M-BIT SERIAL FLASH MEMORY WITH DUAL/QUAD SPI & QPI/DTR
XMC(武汉新芯)XM25UH128DHIGT SPI 接口闪存芯片特性:
全新 SpiFlash 存储器系列– XM25UH128D:128 兆位 / 16 兆字节– 标准 SPI:CLK、/CS、SI、SO、/WP、/Hold– 双路 SPI:CLK、/CS、IO0、IO1、/WP、/Hold– 四路 SPI:CLK、/CS、IO0、IO1、IO2、IO3– QPI:CLK、/CS、IO0、IO1、IO2、IO3– SPI/QPI 双倍传输速率(DTR)读取
高性能串行闪存– 166MHz 单路、双路 / 四路 SPI 快速读取– 108MHz 普通读取– 108MHz DTR 读取– 快速读取操作可配置空周期数– 擦除 / 编程次数超过 10 万次– 数据保存时间超过 20 年
高效 “连续读取” 与 QPI 模式– 支持 8/16/32/64 字节环绕连续读取– 四路外设接口(QPI)降低指令开销– 支持真正的片内执行(XIP)操作
高性能编程 / 擦除速度– 页编程时间:典型值 0.25 ms– 扇区擦除时间:典型值 25 ms– 32KB 块擦除时间:典型值 100 ms– 64KB 块擦除时间:典型值 150 ms– 整片擦除时间:典型值 20 秒
单电源供电– 全电压范围:2.3–3.6V
低功耗特性– 待机电流:典型值 10 μA– 深度掉电电流:典型值 0.2 μA– 读取工作电流:典型值 4 mA(80MHz 四路 I/O)
灵活架构– 均匀扇区 / 块擦除(4K/32K/64K 字节)– 每可编程页可编程 1~256 字节– 支持擦除 / 编程挂起与恢复
高级安全特性– 软件与硬件写保护– 电源锁定与一次性可编程(OTP)保护– 顶部 / 底部、互补阵列保护– 每颗芯片具备 128 位唯一 ID– 支持串行闪存可发现参数(SFDP)标识– 3×1024 字节安全寄存器,带 OTP 锁定– 易失性与非易失性状态寄存器位
封装形式:
H: SOP 208mil 8L;
W: WSON 5x6 8L;
X: WSON 6x8 8L;
U4:FOSON 3x3 8L;
XM25UH128DHIGT SPI Interface Flash概述:
XM25UH128D(128 兆位)是一款串行接口闪存器件,采用2.3V~3.6V 单电源供电设计,深度掉电模式下电流低至0.2µA。该器件可将程序代码从闪存映射到嵌入式或外部 RAM 中执行。
器件具备灵活的擦除架构及页擦除粒度,同样适用于数据存储,无需额外的数据存储器件。
器件内置65,536 个可编程页(每页 256 字节),单次最多可编程 256 字节。支持以 16 页为一组(4KB 扇区擦除)、128 页为一组(32KB 块擦除)、256 页为一组(64KB 块擦除)或整片擦除方式对页面进行擦除。器件分别包含4,096 个可擦除扇区和256 个可擦除块。小型 4KB 扇区为需要存储数据与参数的应用提供了更高的灵活性。
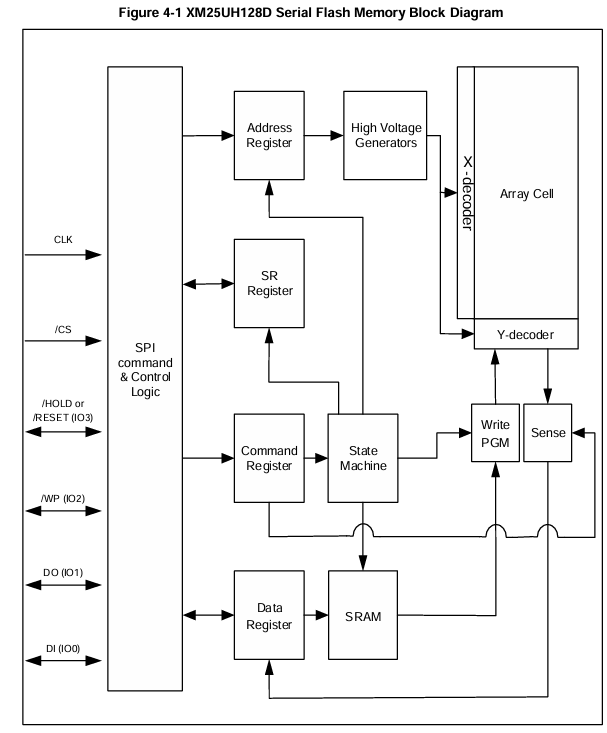
器件支持标准串行外设接口(SPI)、双路 / 四路 I/O SPI 以及双时钟指令周期的四路外设接口(QPI),包括串行时钟、片选、串行数据 I/O0(SI)、I/O1(SO)、I/O2(/WP)和 I/O3(/HOLD)。其支持最高166MHz的 SPI 时钟频率,在运行快速读取双路 / 四路 I/O 及 QPI 指令时,等效时钟频率双路 I/O 可达 332MHz,四路 I/O 可达 664MHz。
器件还新增对 ** 双倍传输速率(DTR)** 指令的支持,传输速率可超越标准异步 8 位及 16 位并行闪存。仅用 8 个时钟周期即可完成 24 位地址的指令开销,连续读取模式可实现高效存储器访问,支持真正的片内执行(XIP)操作。
此外,器件配备保持引脚、写保护引脚以及带顶部 / 底部阵列控制的可编程写保护功能,进一步提升控制灵活性。同时,器件支持 JEDEC 标准厂商 ID 与器件 ID、SFDP 寄存器、128 位唯一序列号以及三个 1024 字节安全寄存器。


